СРК-29-РГ-086-ЦП-1112

Наличие: В наличии

По всем интересующим вопросам Вы сможете связаться с нами по контактным телефонам:

+7(495)137-73-16
А также по электронной почте: info@rt-systems.ru


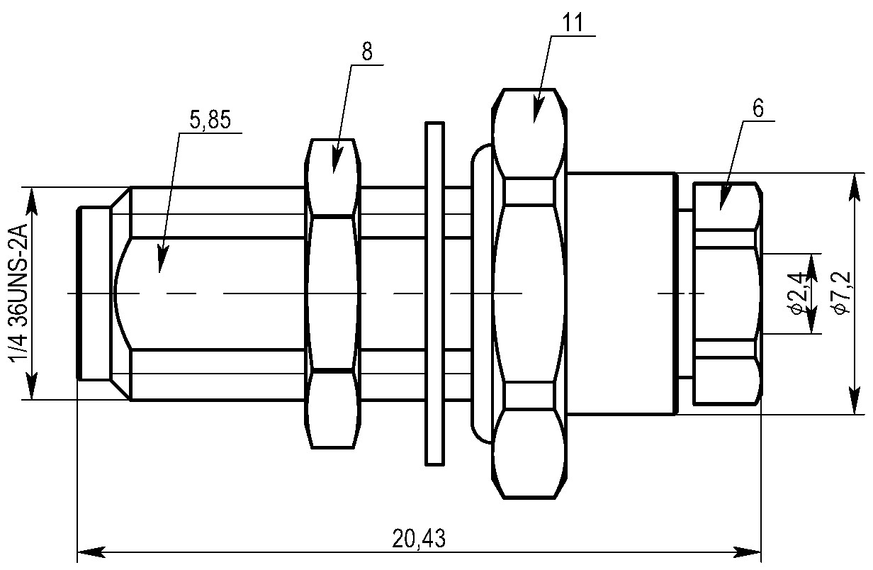
Децимальный номер: РТСЕ.434511.126-06
Оптимальный диапазон часот, ГГц: 0-40
Максимальный КСВН: 1,2
Материал корпуса: сталь нержавеющая
Покрытие корпуса: пассивация
Материал центрального контакта: бериллиевая бронза
Покрытие: золото
Материал диэлектрика: полиэфиримид

Тип разъема

2.92 мм

Вид разъема

розетка

Конструктив

прямой

Прокрутить вверх