СРК-SMA-Р-316-ПО-1100

Наличие: В наличии

По всем интересующим вопросам Вы сможете связаться с нами по контактным телефонам:

+7(495)137-73-16
А также по электронной почте: info@rt-systems.ru


Артикул: 108805 Категория: Метки: , , , , , ,

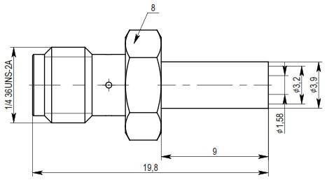
Децимальный номер: РТСЕ.434511.132-18
Оптимальный диапазон часот, ГГц: 0-12
Максимальный КСВН: 1,15
Материал корпуса: латунь
Покрытие корпуса: золото
Материал центрального контакта: бериллиевая бронза
Покрытие: золото
Материал диэлектрика: фторопласт

Тип разъема

SMA

Вид разъема

розетка

Конструктив

прямой

Прокрутить вверх